Έρχεται το αναδιπλούμενο iPhone;

Έρχεται το αναδιπλούμενο iPhone; Facebook Twitter
1
Έρχεται το αναδιπλούμενο iPhone; Facebook Twitter

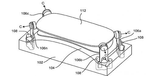
Όπως αποκάλυψε πρώτο το Wired, η Apple κατοχύρωσε μία πατέντα που θεωρητικά επιτρέπει την αναδίπλωση των γυάλινων οθονών.

Σύμφωνα με το CNET, η βραβευμένη πατέντα U.S. 8.336.334, απεικονίζει μία μέθοδο που χρησιμοποιεί θερμότητα για να λυγίσει μέσω καλουπιού το γυαλί, κάτι που αφήνει ανοιχτό το ενδεχόμενο παραγωγής συσκευών iPhone, iPad ή «iGlass» που να έχουν πιο καμπυλωτό σχήμα.

Στην κούρσα της αναδιπλούμενης οθόνης βρίσκεται και η Samsung που θα παρουσιάσει τον επόμενο μήνα μία ελαστική οθόνη 5,5 ιντσών.

Η κατοχύρωση μίας πατέντας πάντως δεν σημαίνει απαραιτήτως ότι η τεχνολογία θα χρησιμοποιηθεί σε κάποιο προϊόν.

Τech & Science
1

ΔΕΙΤΕ ΑΚΟΜΑ

Το Ηνωμένο Βασίλειο ξεκινά επίσημη έρευνα για το Grok του Έλον Μασκ

Τech & Science / Το Ηνωμένο Βασίλειο ξεκινά επίσημη έρευνα για το Grok του Έλον Μασκ

Η βρετανική κυβέρνηση κάλεσε την περασμένη εβδομάδα το X να βρει «επειγόντως» λύση για να αποτραπεί η διασπορά πλαστών, «εξοργιστικών» εικόνων γυμνών γυναικών και παιδιών που δημιουργήθηκαν από το Grok
THE LIFO TEAM
Οι εκδότες φοβούνται ότι τα chatbots και οι περιλήψεις μέσω AI σηματοδοτούν το «τέλος της εποχής της επισκεψιμότητας»

Τech & Science / Τα chatbots και οι περιλήψεις μέσω AI σηματοδοτούν το «τέλος της εποχής της επισκεψιμότητας» στα ειδησεογραφικά sites

Η επισκεψιμότητα προς ειδησεογραφικές ιστοσελίδες έχει ήδη υποχωρήσει κατά ένα τρίτο μέσα σε μόλις έναν χρόνο παγκοσμίως, λόγω της ανόδου των AI overviews και των chatbots
THE LIFO TEAM
ΚΥΡΙΑΚΗ - Ένα κόκκινο pixel στο χιόνι: Πώς η τεχνητή νοημοσύνη έλυσε το μυστήριο ενός αγνοούμενου ορειβάτη

Τech & Science / Ένα κόκκινο pixel στο χιόνι: Πώς η τεχνητή νοημοσύνη έλυσε το μυστήριο ενός αγνοούμενου ορειβάτη

Μετά τη διακοπή των ερευνών λόγω χιονιού το 2024, το 2025 η τεχνητή νοημοσύνη και τα drones ανέλαβαν να σαρώσουν τις δύσβατες πλαγιές των Άλπεων για τον εντοπισμό του
THE LIFO TEAM

σχόλια

1 σχόλια